Volume 39 Issue 4
Dec.  2025
Turn off MathJax
Article Contents
ZHANG Haibo, QIU Wenqian, YAN Cunyue, LI Chuanchang. Design and analysis of bird wing for flapping-wing aircraft based on CFD method[J]. Journal of Shanghai University of Engineering Science, 2025, 39(4): 396-402, 450. doi: 10.12299/jsues.24-0397
Citation: ZHANG Haibo, QIU Wenqian, YAN Cunyue, LI Chuanchang. Design and analysis of bird wing for flapping-wing aircraft based on CFD method[J]. Journal of Shanghai University of Engineering Science, 2025, 39(4): 396-402, 450. doi: 10.12299/jsues.24-0397

Design and analysis of bird wing for flapping-wing aircraft based on CFD method

doi: 10.12299/jsues.24-0397
  • Received Date: 2024-12-30
    Available Online: 2026-02-02
  • Publish Date: 2025-12-01
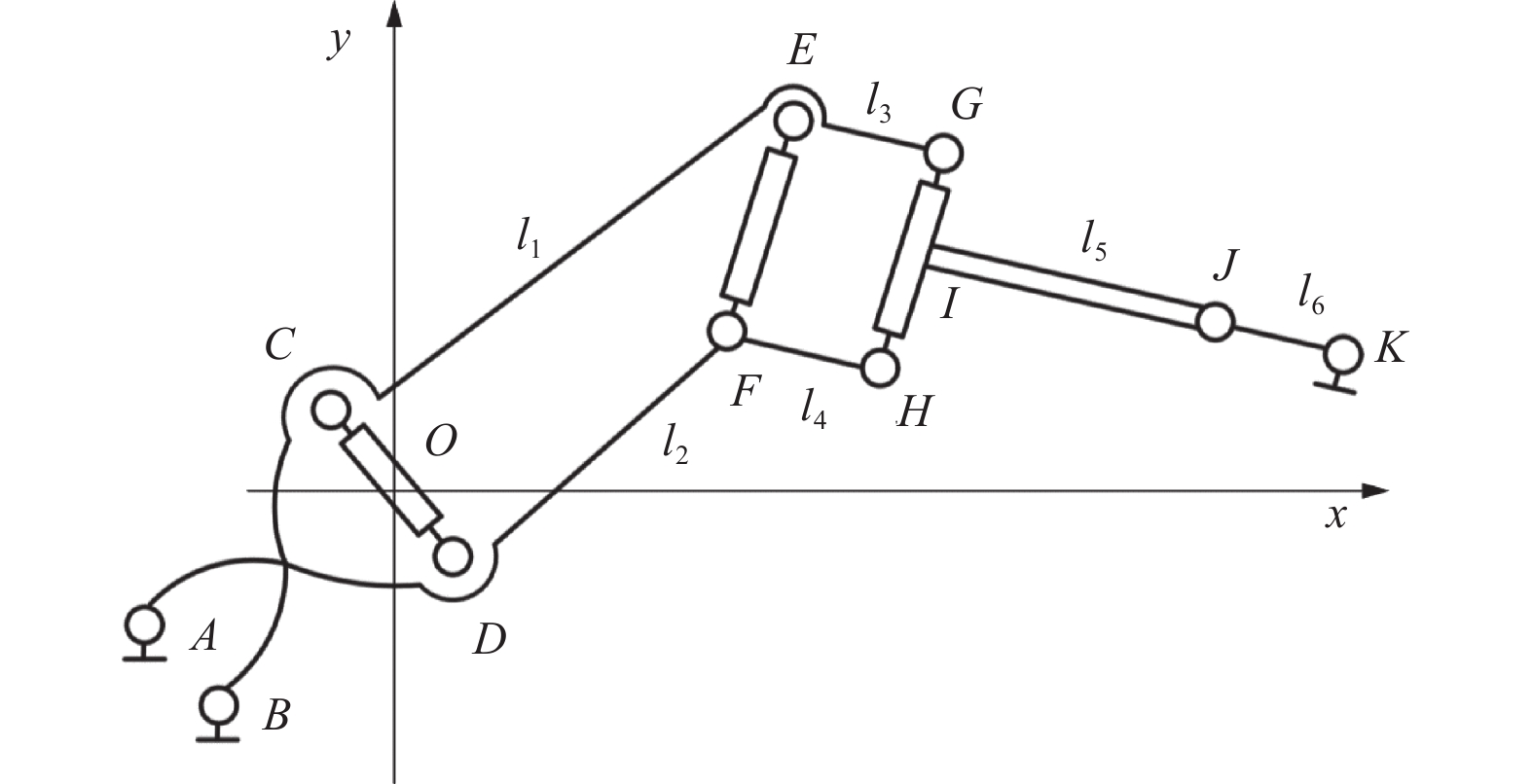
  • In order to improve the motion performance of a flapping-wing aircraft with a double “S” shaped dual-moment transmission mechanism, an in-depth analysis and optimization of the proposed novel flapping-wing model were conducted based on the computational fluid dynamics (CFD) method. The geometric design of the airfoil was adjusted by focusing on key parameters such as leading edge radius, trailing edge angle, wingspan length, and airfoil thickness to achieve a better aerodynamic lift-to-drag ratio. High-quality meshes were generated in ANSYS software using an optimized mesh algorithm, and the dynamic mesh technique was adopted to simulate the fluid dynamics of the vehicle’s movement. The pressure contours and velocity contours of the vehicle under different flight attitudes were analyzed to verify the improved vehicle structure. The results show that the improved airfoil can effectively reduce pressure concentration and suppress vortices.
  • loading
  • [1]
    De MANABENDRA M, SUDHAKAR Y, GADDE S, et al. Bio-inspired flapping wing aerodynamics: a review[J] . Journal of the Indian Institute of Science, 2024, 104(1): 181 − 203. doi: 10.1007/s41745-024-00420-0
    [2]
    SEND W, FISCHER M, JEBENS K, et al. Artificial hinged-wing bird with active torsion and partially linear kinematics[C] //Proceedings of the 28th Congress of the International Council of the Aeronautical Sciences. Brisbane: ICAS, 2012: 1148 − 1157.
    [3]
    TEDRAKE R, JACKOWSKI Z, CORY R, et al. Learning to fly like a bird[C] //Proceedings of the 14th International Symposium on Robotics Research. New York: ACM, 2009.
    [4]
    薛栋. 结构参数和机体运动对扑翼性能的影响研究[D] . 西安: 西北工业大学, 2018, doi: 10.27406/d.cnki.gxbgu.2018.000018.
    [5]
    陈亮, 管贻生, 张宪民. 仿鸟扑翼机器人气动力建模与分析[J] . 华南理工大学学报(自然科学版), 2011, 39(6): 53 − 57, 70.
    [6]
    BANAZADEH A, TAYMOURTASH N. Adaptive attitude and position control of an insect-like flapping wing air vehicle[J] . Nonlinear Dynamics, 2016, 85(1): 47 − 66. doi: 10.1007/s11071-016-2666-8
    [7]
    赵晓伟, 曾东鸿, 占英, 等. 仿鸟类扑翼飞行器研究进展[J] . 动力学与控制学报, 2024, 22(4): 1 − 15.
    [8]
    于丰博, 杨惠忠, 卿兆波. 基于D-H参数法的二自由度并联机械手逆运动学求解[J] . 制造业自动化, 2015, 37(22): 10 − 13.
    [9]
    张庆, 叶正寅. 基于雨燕翅膀的仿生三角翼气动特性计算研究[J] . 力学学报, 2021, 53(2): 373 − 385.
    [10]
    SEDHAIN B K, DHUNGANA B, PAUDEL S, et al. Design and analysis of blended wing body aircraft for stability[M] //LI X G, RASHIDI M M, LATHER R S, et al. Emerging trends in mechanical and industrial engineering. Singapore: Springer, 2023: 875 − 890.
    [11]
    布克. 翼型升力面流动控制及气动强化效应研究[D] . 哈尔滨: 哈尔滨工业大学, 2019.
    [12]
    范福强, 邢素霞, 张俊举. 基于湍流模型的飞行器温度场数值仿真研究[J] . 激光与红外, 2024, 54(5): 766 − 773.
    [13]
    JIN B Y, GAO Z Y. Numerical simulation study on the influence of yaw-to-wind angular velocity on wind turbine aerodynamic characteristics[J] . Journal of Physics: Conference Series, 2023, 2488(1): 012038. doi: 10.1088/1742-6596/2488/1/012038
    [14]
    祁武超, 高展通, 田素梅. 仿绿头鸭扑翼飞行器的低速飞行气动特性仿真研究[J] . 无人系统技术, 2024, 7(2): 39 − 50.
    [15]
    KUMAR R, PREMACHANDRAN B. A coupled level set and volume of fluid method for three dimensional unstructured polyhedral meshes for boiling flows[J] . International Journal of Multiphase Flow, 2022, 156: 104207. doi: 10.1016/j.ijmultiphaseflow.2022.104207
    [16]
    PRÜSS J, SIMONETT G. Moving interfaces and quasilinear parabolic evolution equations[M] . Cham: Birkhäuser, 2016.
    [17]
    BAYATI M S, KESHTKAR A, GHARIB L. Analyzing the near and far field using finite difference and finite element method[J] . IEEE Transactions on Plasma Science, 2013, 41(5): 1398 − 1402. doi: 10.1109/TPS.2013.2251480
    [18]
    KROMER J, BOTHE D. Third-order accurate initialization of volume fractions on unstructured meshes with arbitrary polyhedral cells[J] . Journal of Computational Physics, 2023, 475: 111840. doi: 10.1016/j.jcp.2022.111840
    [19]
    CHELLAPURATH M, NOBLE S, SREEJALEKSHMI K G. Design and kinematic analysis of flapping wing mechanism for common swift inspired micro aerial vehicle[J] . Proceedings of the Institution of Mechanical Engineers, Part C: Journal of Mechanical Engineering Science, 2021, 235(19): 4026 − 4036. doi: 10.1177/0954406220974046
  • 加载中

Catalog

    通讯作者: 陈斌, bchen63@163.com
    • 1. 

      沈阳化工大学材料科学与工程学院 沈阳 110142

    1. 本站搜索
    2. 百度学术搜索
    3. 万方数据库搜索
    4. CNKI搜索

    Figures(13)  / Tables(3)

    Article Metrics

    Article views (419) PDF downloads(110) Cited by()
    Proportional views
    Related

    /

    DownLoad:  Full-Size Img  PowerPoint
    Return
    Return